
奥创机械振动筛专家高级工程师从事振动筛设计与研究30多年,早在1987年就完成了“AC系列高频振动筛”部级科技攻关项目,做了大量的工业试验,从此国内才有了高频筛,高频振动筛主要应用于选煤厂煤泥回收,虽然选煤厂煤泥回收与选矿厂尾矿干排有一定的差别,但用途类似,一些试验数据对尾矿回收仍十分有参考价值。 AC系列尾矿干排筛就是奥创机械在高频筛基础上,结合金属尾矿特点而专门研制的一种用于金属尾矿干排的振动筛,主要用于铁矿、铜矿、金矿、铝矿等尾矿脱水。它是针对我国大量尾矿干排筛存在的诸多问题经过充分论证、调研后而设计的新型高效尾矿回收设备,具有结构简单、造价低、效率高、耗能低、噪声小及维护方便等特点。
	 
15、主要焊接结构件均采用表面处理,外形美观。
	 
 
1.尾矿干排筛由筛箱、支承装置、电机架、振动器、万向传动轴、胶带联轴器、电机等部件组成
	 
 
	2.振动激振器
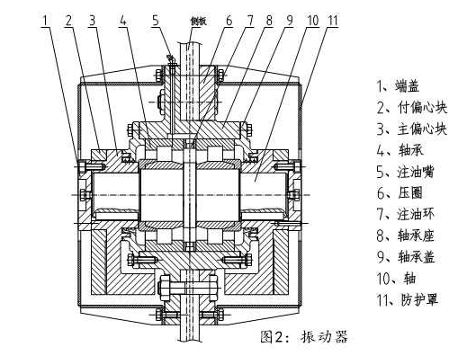
振动器主要由轴承座,滚动轴承,主偏心块、付主偏心块、轴、注油装置和防护罩等组成。调节主、付主偏心块夹角可以改变激振力的大小。轴承采用大游隙短圆柱滚子轴承(振动设备专用轴承),轴承与轴承座和轴之间配合采用了特殊配合,轴承温度一般在50度以下,轴承寿命成倍提高,大大减少了振动器维护工作量,改善了工作环境。偏心振动器目前已经形成系列,共8个规格。可以用在圆振动筛上,也可以采用自同步技术用在直线振动筛上。
 
 
	
3、筛箱筛箱由筛框、筛面及筛面固定装置等组成。(1)筛框筛框为整体空间金属结构件。主要由侧板、上横梁和下横梁组、支承装置座、侧板内外加强板、纵梁角钢等构成。纵梁角钢安装在下横梁上用于支承筛面和物料,支承装置座与支承装置相联用于支承整个筛子振动部分重量,振动器直接安装在侧板两个孔处,振动器附件增加了内外加强板。各主要构件与侧板连接全部采用扭剪型高强螺栓。
 
 
4.筛面固定装置筛面固定方式采用两端压木中间轨座式筛面固定方法,这种固定方法进口振动筛用的比较多,适用于聚氨酯包边的筛面,因聚氨酯有一定弹性,通过挤压,板块式筛面的凸起部分嵌入轨座凹入部分。轨座通过螺栓与下横梁上部纵梁连接。该法可靠、拆卸方便。
	 
	
	 
 
6、支承装置本筛通过四组支承装置与基础联接。支承装置主要由上座、螺旋弹簧及底座组成。
	 
 
7、万向传动轴两振动器之间通过汽车万向传动轴传递动力,由于万向传动轴轴向可自由移动,从而避免轴承受轴向力。6、电机与电机架本筛采用2个普通Y系列电动机,通过螺栓与电机架联接,电机架为焊接结构。
	 
 
	尾矿干排脱水筛工作原理
尾矿干排脱水筛工作原理振动筛的参振部分由四组支承装置弹性支承,振动器产生的激振力使筛箱振动,工作原理见图7。振动器中的两组偏心质量m1=m2,作同步反向运转。在各瞬时位置中,两组偏心质量产生的离心力沿振动方向的分力总是互相叠加,而在其法向,离心力的分力总是互相抵消,从而形成单一的沿振动方向的激振力,使筛箱作往复直线振动。在图示1、3位置,离心力完全叠加,激振力大;在2、4位置,离心力完全抵消,激振力为零。在激振力的作用下,物料在筛面上作连续斜上抛运动,物料在抛起时被松散,在与筛面相遇时的碰撞使小颗粒透筛,从而实现物料的分级、脱水、脱泥、脱介之目的。
	
尾矿干排筛的脱水原理尾矿干排筛用作尾矿干排时,其原理描述如下:入料尾矿由给料箱均匀给入筛子入料口处,首先在与水平成45度安装泄水筛板处脱除约1/3左右的水分,进入平面筛板与倾斜筛板的结合部后,出现物料的积聚,煤泥颗粒靠重力沉降,开始形成较薄的滤层,滤层又阻止其余颗粒透筛,使得滤层逐渐增厚。未能透筛的水在滤层上部形成水池,由于此处滤层较薄,水分陆续在强烈的运动下逐渐脱去,由于高频低振幅的振动状态,使得形成滤层的尾矿振的越来越密实,至排料口处,物料形成滤饼状,尾矿中的水分除从筛面脱除一部分外,其余由于毛细作用浮现于料层表面,由于筛面负倾角安装,水不会从排料口溢出,表面水会流向结合部水池。所以,在图8中,Ⅰ区和Ⅱ区为主要脱水区,Ⅱ区除作脱水区外,还是滤层形成区,Ⅲ区为滤层脱水区,物料经过Ⅲ区后,将由松散逐渐形成较密且成饼状的物料,最后排至筛前溜槽。
 
 
	
	
	
	 
 
	
振动筛厂家家友情提示:请通过正规渠道购买振动筛配件,以保障您的合法权益!振动筛厂家请选河南奥创机械:www.wdlybc.com/zxts/627.html    24小时服务热线:18937310551
物料直线运行方形筛专家-奥创机械 网站备案:豫ICP备16037295号-13